Tesla patenteia limpa-vidros laser

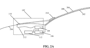
A Tesla tem estado a tentar reinventar as escovas para limpar os pára-brisas, e numa das suas mais recentes patentes avança que troca as escovas por lasers para limpar os vidros.

Há muitas décadas que os inventores têm tentado encontrar formas de limpar os pára-brisas sem contacto físico, mas até ao momento ainda não surgiu nenhum sistema que substituísse as velhas escovas. Mesmo a proposta electromagnética da Tesla continuava a usar uma escova e contacto físico, e daí o interesse redobrado neste novo sistema de limpa pára-brisas laser.

Diz a Tesla que o sistema conseguiria limpar os vidros do carro usando raios laser, e não só o pára-brisa como todos os outros – e avançando até que o mesmo sistema poderia ser usado para limpar painéis solares e outras superfícies de vidro.

Ora, à partida, a ideia de ter lasers de alta-potência apontados directamente para o pára-brisas e onde qualquer detrito poderia reflectir os lasers para os olhos do condutor ou ocupante, parece-me extremamente preocupante. Mesmo na eventualidade de se usar um comprimento de onda que pudesse ser filtrado pelos próprios vidros, continuaria a haver a preocupação dos lasers poderem ser reflectidos para alguém no exterior do veículo. Mas, imagino que isso seja o tipo de coisa que não ficaria esquecido no caso de tal sistema chegar ao mundo real.

Infelizmente, como bem sabemos, por vezes as marcas avançam com estas patentes de “ideias loucas” meramente com objectivo defensivo, e poderão demorar décadas até que se tornem realidade… ou nunca.

Publicado originalmente no AadM

Deixe um comentário

O seu endereço de email não será publicado. Campos obrigatórios marcados com *