A Ford parece estar a preparar uma opção de recurso para o caso da sua futura pickup eléctrica F150 não ser capaz de competir com o Cybertruck da Tesla, com um extensor de autonomia que ficará na caixa de carga.
A autonomia continua a ser uma questão que preocupa os interessados em automóveis eléctricos, e a Ford parece não estar segura que a sua F150, que é um modelo icónico nos EUA, sendo a pickup mais vendida há décadas, possa enfrentar o Cybertruck da Tesla. O Cybertruck anuncia uma autonomia de 400 km para o modelo base, mas que passa para os 800 km no caso do modelo tri-motor topo de gama.
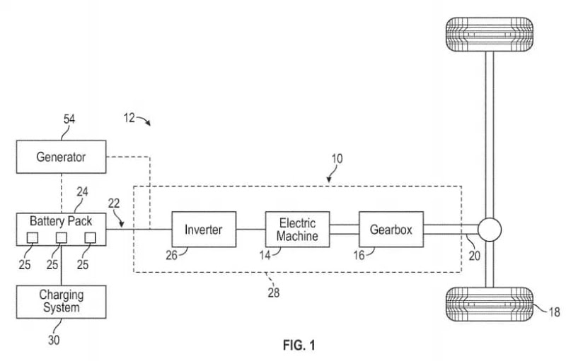
Em contrapartida, a Ford parece querer dar à sua F150 eléctrica autonomia “ilimitada”, por conta de um extensor de autonomia que fica alojado na caixa de carga, como se fosse uma caixa de ferramentas que habitualmente é instaladas nestes veículos. Neste caso não se trata de uma bateria adicional para ampliar a autonomia, mas sim de um pequeno gerador a combustível tradicional, que se encarregará de recarregar a bateria sempre que for necessário, ou alimentar directamente os motores, ao estilo do que outras marcas já adoptaram, como o i3 da BMW.
Penso que seria mais interessante se a Ford contemplasse um sistema modular que acomodasse diferentes opções de extensão de autonomia, incluindo um pack de baterias adicionais, em vez de apenas um motor a combustão, que derrota desde logo o propósito da adopção de um veículo eléctrico. Ainda para mais quando se sabe que vários países e estados norte-americanos já estão a definir um prazo para o fim da comercialização de veículos a combustão.


